Skip to content Skip to sidebar Skip to footer

Cooling System Of Diesel Engine

Cooling System Diesel Engine Engineers Edge

Cooling System Diesel Engine Engineers Edge

Cooling system of diesel engine. When the engine stops and cools the valve closes again. The temperature of the burning gases in the engine cylinder reaches up to 1500 to 2000C which is above the melting point of the material of the cylinder body and head of the engine. Such system includes water pump radiator cooling fan thermostat water jacket in engine block and cylinder head and other attachments.

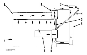
In this system heat is carried away by the air flowing over and around the cylinder. 6112 Engine Coolant -Water is the most common coolant used in diesel engines. Therefore the method of removing away the excess heat from the engine cylinder is called a cooling system.

Jacket Water Cooling System is normally two types. Cooling the engine cylinders via water jacket. The cooling system consists of a closed loop similar to that of a car engine and contains the following major components.

The Diesel engine cooling system generally consists of two circuits. Conventional systems for cooling the engine are simply designed to keep the engine temperature acceptable for a. The internal cooling circuit also known as jacket cooling system and the external cooling circuitThe water circulating along the internal circuit cools the Diesel engine while the water of the external circuit serves to cool the oil the water of the internal cooling circuit and the air for supercharging.

DIFFERENT SYSTEMS OF IC ENGINE COOLING LUBRICATING FUEL INJECTION SYSTEMS Different systems available for efficient functioning of an engine are as follows 1. While that of a diesel engine may approach 6000F. Fuel supply system 2.

Air Cooling System. Lets learn more about this cooling system. Indian Journal of Science and Technology.

The valves pistons cylinder walls and cylinder head all of which must be provided some means of cooling to avoid. An air-cooled system is generally used in small engines say up to 15-20 kW.

Marine Auxiliary Diesel Engine Cooling System

Marine Auxiliary Diesel Engine Cooling System

Mech Diesel Engine Cooling System Page 2 Water Cooling

Mech Diesel Engine Cooling System Page 2 Water Cooling

How Does Engine Cooling System Work Power Generation Engine

How Does Engine Cooling System Work Power Generation Engine

Engine Cooling Engineer Educators Com

Engine Cooling Engineer Educators Com

Marine Diesel Engine Cooling Water System Youtube

Marine Diesel Engine Cooling Water System Youtube

Mech Diesel Engine Cooling System Page 2 Water Cooling

Mech Diesel Engine Cooling System Page 2 Water Cooling

Schematic Diagram Of V6 4 5 L Diesel Engine With Its Cooling System Download Scientific Diagram

Schematic Diagram Of V6 4 5 L Diesel Engine With Its Cooling System Download Scientific Diagram

Tech Article 2 The Humvee Diesel Engine Cooling Paradox Paradox By Design

Tech Article 2 The Humvee Diesel Engine Cooling Paradox Paradox By Design

Engine Cooling An Overview Sciencedirect Topics

Engine Cooling An Overview Sciencedirect Topics

Dplp Design For Diesel Engine Based Water Cooling System The Components Download Scientific Diagram

Dplp Design For Diesel Engine Based Water Cooling System The Components Download Scientific Diagram

Cooling System For Running Machinery On Board Cargo Ships

Cooling System For Running Machinery On Board Cargo Ships

The Open Cooling Systems

The Open Cooling Systems

Diesel Engine Cooling System Youtube

Diesel Engine Cooling System Youtube

Marine Power Solutions Marine Diesel Engines

Marine Power Solutions Marine Diesel Engines

How An Engine Cooling System Works How A Car Works

How An Engine Cooling System Works How A Car Works

Charge Air Cooling

Charge Air Cooling

Detroit Diesel 2 Cycle Engines Publication 7se298 0106 Phoenix Coach Global Store

Detroit Diesel 2 Cycle Engines Publication 7se298 0106 Phoenix Coach Global Store

Fresh Water Sea Water Cooling System For Marine Diesel Engine

Fresh Water Sea Water Cooling System For Marine Diesel Engine

Volvo Diesel Engine Cooling System

Volvo Diesel Engine Cooling System

Generator Cooling Systems Generator Information

Generator Cooling Systems Generator Information

The Best Ways To Keep Your Diesel Truck Engine Healthy Auto Accessories Store

The Best Ways To Keep Your Diesel Truck Engine Healthy Auto Accessories Store

The Open Cooling Systems

The Open Cooling Systems

1

1

Iii Engine Diesel Engine System Pdf

Iii Engine Diesel Engine System Pdf

Diesel Engine Power Plant

Diesel Engine Power Plant

How Engine Cooling System Works Mechanical Booster

How Engine Cooling System Works Mechanical Booster

Engine Cooling System Types And Their Working Shipfever

Engine Cooling System Types And Their Working Shipfever

Keel Cooling

Keel Cooling

Cut Section Model Of Four Cylinder Engine Cooling System Mechanical Engineering Xtreme Engineering Equipments Pvt Ltd Xeepl Xtreme Engineering Equipments Pvt Ltd Civil Engineering Lab Equipments

Cut Section Model Of Four Cylinder Engine Cooling System Mechanical Engineering Xtreme Engineering Equipments Pvt Ltd Xeepl Xtreme Engineering Equipments Pvt Ltd Civil Engineering Lab Equipments

7 Engine Oil Cooling Swep

7 Engine Oil Cooling Swep

Diesel Engine Power Plant

Diesel Engine Power Plant

Engine Cooling An Overview Sciencedirect Topics

Engine Cooling An Overview Sciencedirect Topics

Zi Chem Water Treatment Solutions Key Solutions For Industry Diesel Engine Cooling System Corrosion Control Programs

Zi Chem Water Treatment Solutions Key Solutions For Industry Diesel Engine Cooling System Corrosion Control Programs

Jacket Water Cooling System Of Main Engine Marine Diesel Engine

Jacket Water Cooling System Of Main Engine Marine Diesel Engine

Volvo Diesel Engine Cooling System

Volvo Diesel Engine Cooling System

Construction Mechanical Engineering Automotive News Tips Diesel Engine Support Systems Engine Cooling

Construction Mechanical Engineering Automotive News Tips Diesel Engine Support Systems Engine Cooling

Diesel Engine Generator Cooling System An Electrical Engineer

Diesel Engine Generator Cooling System An Electrical Engineer

Home Marine Diesel Basics Diesel Marine Diesel Engine Marine

Home Marine Diesel Basics Diesel Marine Diesel Engine Marine

Europe Mazda3 Bn 09 2016 Diesel Engine Supplement 1500c Cooling System Diesel Catcar Info

Europe Mazda3 Bn 09 2016 Diesel Engine Supplement 1500c Cooling System Diesel Catcar Info

Diesel Engine Support Systems

Diesel Engine Support Systems

Internal Combustion Engine Cooling Wikiwand

Internal Combustion Engine Cooling Wikiwand

File Open Ic Engine Cooling System Ship Svg Wikipedia

File Open Ic Engine Cooling System Ship Svg Wikipedia

Double Circuit Water Air Cooling System Of Locomotive Type Diesel Engine With Heat Accumulating Device

Double Circuit Water Air Cooling System Of Locomotive Type Diesel Engine With Heat Accumulating Device

226b Wp6 Series Diesel Engine Cooling System Sinoreach Group Co Limited

226b Wp6 Series Diesel Engine Cooling System Sinoreach Group Co Limited

3100 Heui Diesel Truck Engine Cooling System Caterpillar Engines Troubleshooting

3100 Heui Diesel Truck Engine Cooling System Caterpillar Engines Troubleshooting

Working Principle Of Diesel Engine Cooling System By Starlight Generator Medium

Working Principle Of Diesel Engine Cooling System By Starlight Generator Medium

Europe Mazda6 Gg 03 2005 Diesel Engine Supplement 1500c Cooling System Diesel Catcar Info

Europe Mazda6 Gg 03 2005 Diesel Engine Supplement 1500c Cooling System Diesel Catcar Info

1

1

If we burn diesel inside the engine then it will become hot.

Today the preferred conventional antifreeze for diesel engines is fully formulated identified as ASTM D-6210 or RP-329 by the Technology. For this reason we use water inside the engine and it reduces engine inner temperature. A typical automotive cooling system comprises. For most diesel engines a jacket water discharge temperature of about 180oF is preferred with a temperature rise through the engine in the range of 8 to15oF. When the engine warms up the wax melts expands and pushes the valve open allowing coolant to flow through the radiator. The temperature of the burning gases in the engine cylinder reaches up to 1500 to 2000C which is above the melting point of the material of the cylinder body and head of the engine. DIFFERENT SYSTEMS OF IC ENGINE COOLING LUBRICATING FUEL INJECTION SYSTEMS Different systems available for efficient functioning of an engine are as follows 1. A series of galleries cast into the engine block and cylinder head surrounding the combustion chambers with circulating liquid to carry away heat. Cooling the lube oil via lube oil cooler.


Lets learn more about this cooling system. Explanation of Diesel Engine Generator Cooling System. A radiator consisting of many small tubes equipped with a honeycomb of fins to dissipate heat rapidly that receives and cools hot liquid from the engine. For most diesel engines a jacket water discharge temperature of about 180oF is preferred with a temperature rise through the engine in the range of 8 to15oF. The cooling syste m is. Engine cooling system components ¾Liquid coolant ¾Jacket water pump ¾Thermostatic control valve ¾Expansion tank or Standpipe ¾Jacket water heat exchanger ¾Keep-warm systems NOTE. If we burn diesel inside the engine then it will become hot.

Post a Comment for "Cooling System Of Diesel Engine"